詳細介紹
Product Description該機是穿流連續式乾燥設備,用於透氣性較好的片狀、條狀、顆粒狀物料的干燥,對於脫水蔬菜、中藥飲片等類含水率高、而溫度不允許高的物料尤為合適;該系列乾燥機具有乾燥速度快、蒸發強度高、產品質量好的優點,對脫水濾餅狀的膏狀物料,需經造粒或製成棒狀後亦可干燥。
概述:
該機是穿流連續式乾燥設備,用於透氣性較好的片狀、條狀、顆粒狀物料的干燥,對於脫水蔬菜、中藥飲片等類含水率高、而溫度不允許高的物料尤為合適;該系列乾燥機具有乾燥速度快、蒸發強度高、產品質量好的優點,對脫水濾餅狀的膏狀物料,需經造粒或製成棒狀後亦可干燥。
特點:
●可以調節空氣量、加熱溫度、物料停留時間及加料速度以取得最佳乾燥效果。
●設備配置靈活,可使用網帶沖洗系統及物料冷卻系統。
●大部分空氣循環利用,高度節省能源。
●獨特的分風裝置,使熱風分佈更加均勻,確保產品品質的一致性。
●熱源可採用蒸氣、導熱油、電或燃煤(油)熱風爐配套

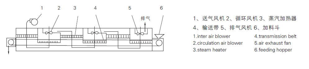
原理:
物料由加料器均勻地舖在網帶上,網帶一般採用12-60目不銹鋼絲網,由傳動裝置拖動在乾燥機內移動。乾燥機由若干單元組成,每一單元熱風獨立循環,部分尾氣由專門排濕風機排出,廢氣由調節閥控制,熱氣由下往上或由上往下穿過鋪滿物料的網帶完成熱量與質量傳遞的進程,帶走物料水份。網帶緩慢移動,運行速度可根據物料溫度自由調節,乾燥後的成品連續落入收料器中。上下循環單元根據用戶需要可靈活配備,單元數量亦可根據需要選取。
應用:
脫水蔬菜、顆粒飼料、味精、椰蓉、有機塑料、合成橡膠、丙烯纖維、藥品、藥材、小木製品、塑料製品、電子元器件老化、固化等。
技術參數表:
| 型號 | DW-1.2-8 | DW-1.2-10 | DW-1.6-8 | DW-1.6-10 | DW-2-8 | DW-2-12 |
| 單元數 | 4 | 5 | 4 | 5 | 4 | 6 |
| 帶寬 m | 1.2 | 1.2 | 1.6 | 1.6 | 2 | 2 |
| 乾燥段長 m | 8 | 10 | 8 | 12 | 8 | 12 |
| 舖料厚mm | 10~80 | |||||
| 使用溫度℃ | 60~130 | |||||
| 蒸汽壓力Mpa | 0.2~0.8 | |||||
| 蒸汽耗量kgsteam/kgH2O | 2.2~2.5 | |||||
| 乾燥強度kgH2O/h | 6~20kg/m 2.h | |||||
| 風機總功率KW | 3.3 | 4.4 | 6.6 | 8.8 | 12 | 16 |
| 設備總功率KW | 4.05 | 5.15 | 7.35 | 9.55 | 13.1 |
17.1 |
注:部分參數設計時視不同物料有所調整,以設計為準。
相關商品
Other Product關於淼鴻
淼鴻能源科技是一家以高效低溫除濕熱泵技術為核心,致力於綠能科技的研發、市場拓展和產品推廣的科技型公司。臺灣設有研發中心及安裝團隊。希望透過高品質的產品和技術,服務全球更多的客戶。